
Motorsteuerungen
für DC-Motor und BLDC-Motor
Programmierbar, kompakt und robust
In Standard- oder kundenspezifischen Ausführungen erfüllen unsere elektronischen Steuerungen für DC-Motoren wie auch für BLDC-Motoren die verschiedensten Anforderungen. Jede Steuerung ist kompakt gebaut, robust konstruiert und über handelsübliche Steckkontakte anschließbar. Über programmierbare digitale und analoge Eingänge und Ausgänge lassen sich Drehrichtung, Drehzahl, Rampen, dynamische Bremsung, Stromzufuhr etc. steuern.
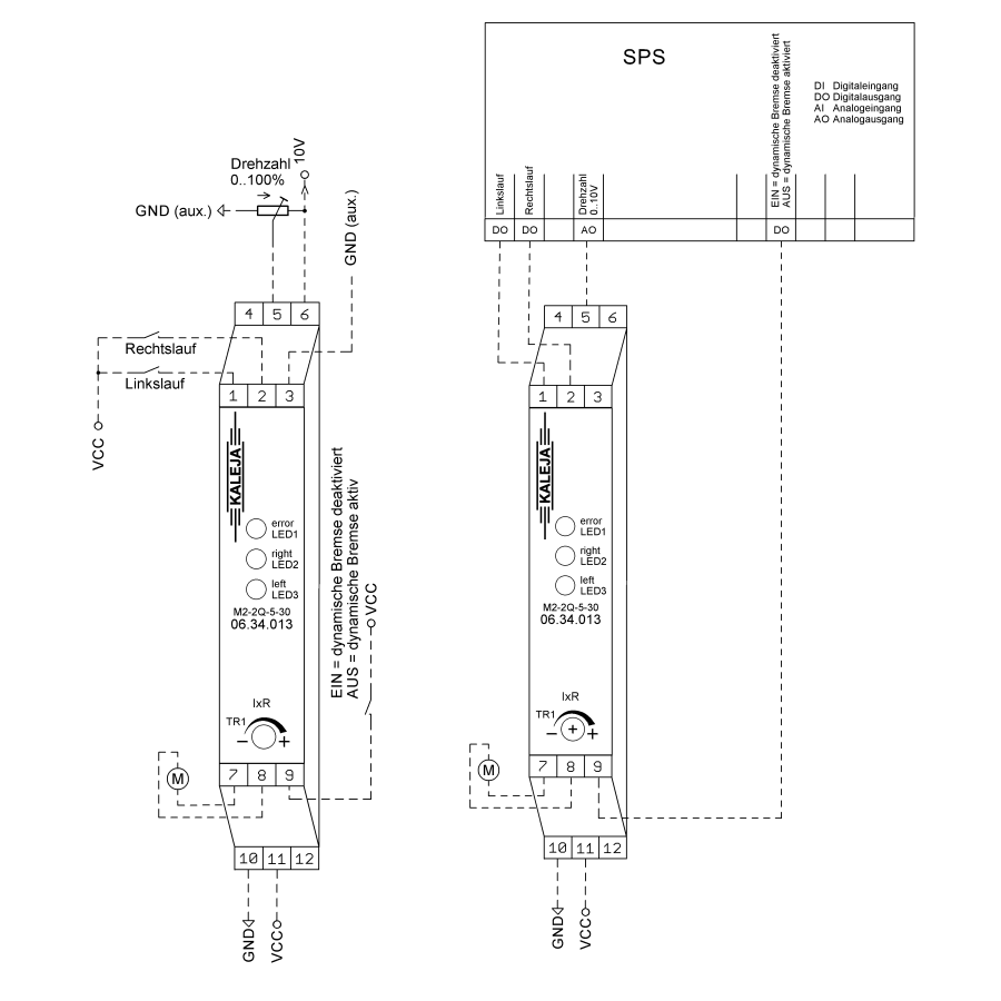
Motorsteuerung 06.34.013
| Artikelnummer | 06.34.013 |
|---|---|
| Artikelart | M2-2Q-5-30 |
| Motorart | DC |
| Analoge Eingänge | 1 |
| Bus | nein |
| Drehrichtung | Links-/Rechtslauf |
| Drehzahlsteuerung | |
| Stromregelung I x R | |
| Startrampe | |
| Dynamische Bremsung | |
| Max Strom | 15 |
| Dauerlaststrom | 5 |
| Versorgungsspannung Steuerkreis | 24 (15-30) VDC |
| Versorgungsspannung Lastkreis | 24 (15-30) VDC |
| Spannung | 24 |
Technische Beschreibung
Das Modul M2-2Q-5-30 ist eine Zweiquadranten-Motorsteuerung mit Drehzahlsteuerung für DC-Motoren, zur Verwendung im industriellen Umfeld.
Sie gewährleistet das Ein- und Ausschalten, sowie das gesteuerte Antreiben von Motoren.
Durch einen Analogeingang kann die Drehzahl eingestellt werden.
Der Motor kann sowohl mit als auch ohne dynamische Bremse gestoppt werden.
Die IxR Kompensation kann verwendet werden um Lastabhängige Drehzahländerungen zu minimieren.
Hinweise
Ausführung für Schaltströme bis 5A
Steuerung mit folgenden Funktionen:
- Drehrichtungsumkehr
- Drehzahlsteuerung (extern)
- Startrampe 100 ms
- Überlastabschaltung
- Kurzschlusserkennung
- Dynamische Bremsung
- IxR Kompensation
Zum Aufschnappen auf die DIN Schiene EN 50022
Baubreite: 17,5 mm
Die diversen Angaben im Produktfilter für die Motorsteuerungen zeigen bereits die Vielfalt an Funktionen. Anhand der für Ihren Anwendungsfall entscheidenden Hauptkriterien lässt sich schnell die Auswahl an einsetzbaren Steuerungsmodulen eingrenzen. Die passende Steuerung ist somit schnell gefunden.


